Laatikkopihti TKA/ d

kääntömekanismilla

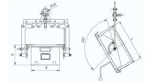
Varmistusmekanismi estää tahattoman kippaamisen.Leuat tarttuvat laatikon reunuksen alta.

Saatavissa myös muilla mitoilla.

Tilauksen yhteydessä on toimitettava mitat tai mallikappale.

Osastot: , Avainsana tuotteelle

Tästä voit jättää helposti kyselyn tästä tuotteesta:

Kuvaus

TKAD mitta

Tyyppi Kuorma kg Omapaino kg A mm B mm L mm
TKA 0,15/330d 150 28,5 200-300 300 28,5
TKA 0,15/480d 150 26 315-330 4470-480 26